Voltar a: Física e Química
- Prova Escrita de Física e Química A – versão 1
- Prova 715: 2.ª Fase – 2006
1. Leia atentamente o texto seguinte:
Há 10 ou 20 mil milhões de anos sucedeu o Big Bang, o acontecimento que deu origem ao nosso Universo. Toda a matéria e toda a energia que atualmente se encontram no Universo estavam concentradas, com densidade extremamente elevada (superior a 5 × 1016 kg m–3) – uma espécie de ovo cósmico, reminiscente dos mitos da criação de muitas culturas – talvez num ponto matemático, sem quaisquer dimensões. Nessa titânica explosão cósmica o Universo iniciou uma expansão que nunca mais cessou. À medida que o espaço se estendia, a matéria e a energia do Universo expandiam-se com ele e arrefeciam rapidamente. A radiação da bola de fogo cósmica que, então como agora, enchia o Universo, varria o espectro eletromagnético, desde os raios gama e os raios X à luz ultravioleta e, passando pelo arco-íris das cores do espectro visível, até às regiões de infravermelhos e das ondas de rádio.
O Universo estava cheio de radiação e de matéria, constituída inicialmente por hidrogénio e hélio, formados a partir das partículas elementares da densa bola de fogo primitiva. Dentro das galáxias nascentes havia nuvens muito mais pequenas, que simultaneamente sofriam o colapso gravitacional; as temperaturas interiores tornavam-se muito elevadas, iniciavam-se reações termonucleares e apareceram as primeiras estrelas. As jovens estrelas quentes e maciças evoluíram rapidamente, gastando descuidadamente o seu capital de hidrogénio combustível, terminando em breve as suas vidas em brilhantes explosões – supernovas – devolvendo as cinzas termonucleares – hélio, carbono, oxigénio e elementos mais pesados – ao gás interestelar, para subsequentes gerações de estrelas.
O afastamento das galáxias é uma prova da ocorrência do Big Bang, mas não é a única. Uma prova independente deriva da radiação de microondas de fundo, detetada com absoluta uniformidade em todas as direções do cosmos, com a intensidade que atualmente seria de esperar para a radiação, agora substancialmente arrefecida, do Big Bang.
In Carl Sagan, Cosmos, Gradiva, Lisboa, 2001 (adaptado)
1.1*. De acordo com o texto, selecione a alternativa CORRECTA.
(A) A densidade do Universo tem vindo a aumentar.
(B) Os primeiros elementos que se formaram foram o hidrogénio e o hélio.
(C) O Universo foi muito mais frio no passado.
(D) O volume do Universo tem vindo a diminuir.
*O conteúdo deste item já não faz parte dos atuais referenciais programáticos da disciplina.
- Opção (B)
⇒ De acordo com os 3.° e 4.° períodos do primeiro parágrafo do texto, desde a explosão cósmica que a matéria e a energia do Universo se expandem e arrefecem.
⇒ Os primeiros elementos que se formaram foram o hidrogénio e o hélio, como é afirmado no 1.° período do segundo parágrafo.
- Opção (B)…………. 7 pontos
1.2*. De acordo com o texto, selecione, entre as alternativas apresentadas, a que corresponde a duas provas da existência do Big Bang.
(A) A existência de buracos negros e a expansão do Universo.
(B) A aglomeração das galáxias em enxames de galáxias e a diversidade de elementos químicos no Universo.
(C) O desvio para o vermelho da radiação das galáxias e a libertação de radiação gama aquando da formação do deutério.
(D) A expansão do Universo e a detecção de radiação cósmica de microondas.
*O conteúdo deste item já não faz parte dos atuais referenciais programáticos da disciplina.
- Opção (D)
⇒ Embora o desvio para o vermelho da radiação das galáxias também seja uma evidência para o Big Bang, note-se que o texto não lhe faz referência.
- Opção (D)…………. 7 pontos
1.3*. Seleccione a alternativa que permite substituir correctamente a letra A, de forma que a seguinte equação traduza a fusão de um núcleo de deutério com um protão, com libertação de radiação gama.
12H+ + 11H+ → A + γ
(A) 42He2+
(B) 32He+
(C) 32He2+
(D) 42He+
*O conteúdo deste item já não faz parte dos atuais referenciais programáticos da disciplina.
- Opção (C)
⇒ Numa reação nuclear (como esta de fusão nuclear – reação entre dois núcleos leves que dão origem a um mais pesado e libertação de energia), há conservação de carga, do número de nucleões (regra A) e do número atómico (regra Z).
- Opção (C)…………. 7 pontos
1.4. As estrelas são muitas vezes classificadas pela sua cor.
O gráfico da figura 1 representa a intensidade da radiação emitida por uma estrela, a determinada temperatura, em função do comprimento de onda da radiação emitida.
1.4.1*. Indique a cor da radiação visível emitida com maior intensidade pela estrela.
*O conteúdo deste item já não faz parte dos atuais referenciais programáticos da disciplina.
⇒ O comprimento de onda para o qual a intensidade da radiação emitida é máxima pertence à banda do UV do espetro eletromagnético, uma vez que o seu valor é muito inferior a 400 nm (da figura, λmáx ) 300 nm) .
⇒ Assim, do espetro visível, a cor da radiação emitida com maior intensidade pela estrela é a violeta, pois é a que apresenta menores valores de comprimento de onda.
- Violeta …………. 6 pontos
1.4.2*. Seleccione a alternativa que permite calcular, no Sistema Internacional, a temperatura da estrela, para a qual é máxima a potência irradiada, sabendo que essa temperatura corresponde a um comprimento de onda de 290 nm e que λT = 2,898 × 10–3 m K.
*O conteúdo deste item já não faz parte dos atuais referenciais programáticos da disciplina.
- Opção (C)
- 2,90 × 10–7 T = 2,898 × 10–3 ⇔ T = 2,898 × 10–3 / 290 x 10-7 K
- Opção (C)…………. 7 pontos
- 10ºano – Química – Domínio 1 – subdomínio 2 (Energia dos eletrões nos átomos)
1.4.3. A radiação emitida por uma estrela também nos pode dar informação sobre a sua composição química.
Escreva um texto onde explique por que razão se pode concluir, por comparação do espectro solar com os espectros de emissão do hidrogénio e do hélio, que estes elementos estão presentes na atmosfera solar.
⇒ Os espectros de emissão do hidrogénio e do hélio são espectros de riscas. As diversas riscas estão relacionadas com transições electrónicas nos respectivos átomos.
⇒ O espectro de emissão do Sol é um espectro contínuo, sendo a intensidade das diversas radiações relacionada com a temperatura superficial do Sol.
⇒ No espectro de emissão do Sol há riscas que correspondem à absorção de certos comprimentos de onda do espectro por átomos presentes na superfície do Sol.
⇒ Comparando os comprimentos de onda correspondentes a essas riscas com os das riscas dos espectros de emissão do hidrogénio e hélio, é possível concluir que há riscas comuns aos espectros de emissão do hidrogénio e do hélio.
⇒ Há, pois, átomos de hidrogénio e de hélio na superfície solar, que absorvem parte da radiação do Sol, originando as riscas negras.
- A composição deve contemplar os seguintes tópicos:
⇒ No espectro solar, existem riscas negras que se devem à absorção de radiação por átomos existentes na atmosfera do Sol.
⇒ Como algumas dessas riscas coincidem com as riscas dos espectros de emissão dos elementos referidos, podemos concluir que esses elementos estão presentes na atmosfera solar.
A classificação deste item utiliza os níveis de desempenho registados nos critérios gerais, apresentados de acordo com os tópicos descritos.
Se o examinando referir apenas 1 tópico:
– atribuir a cotação de 7 pontos se este estiver correto;
– atribuir a cotação de 6 pontos se for utilizada ocasionalmente uma terminologia científica não adequada e/ou com incorreções.
1.5*. O efeito fotoeléctrico consiste na remoção de electrões de um metal quando sobre ele incide uma radiação adequada.
Classifique como verdadeira (V) ou falsa (F) cada uma das afirmações seguintes.
(A) Para cada metal, o efeito fotoeléctrico ocorre, seja qual for a radiação incidente, desde que se aumente suficientemente a intensidade desta radiação.
(B) Se uma radiação vermelha é capaz de remover electrões de um determinado metal, o mesmo acontecerá com uma radiação azul.
(C) A energia cinética dos electrões emitidos por uma chapa metálica na qual incide radiação depende não só da natureza do metal, mas também da radiação incidente.
(D) Existindo efeito fotoeléctrico, dois feixes de radiação, um ultravioleta e o outro visível, com a mesma intensidade, ao incidirem sobre um determinado metal, ambos produzem a ejecção de electrões com a mesma velocidade.
(E) Existindo efeito fotoeléctrico, os electrões mais fortemente atraídos pelos núcleos dos átomos do metal em que incide uma radiação são ejectados com menor velocidade.
(F) O número de electrões emitidos por uma chapa metálica na qual incide uma radiação depende da frequência dessa mesma radiação.
(G) O número de electrões emitidos por uma chapa metálica na qual incide uma radiação depende da intensidade dessa mesma radiação.
(H) Se um dado metal possui energia de remoção A, ao fazer incidir sobre ele uma radiação de energia 3A, serão ejectados electrões com energia cinética A.
*O conteúdo deste item já não faz parte dos atuais referenciais programáticos da disciplina.
- (A) Falsa.
Só há emissão de electrões por efeito fotoeléctrico a partir de uma certa frequência mínima (por mais intensa que seja a radiação), que depende de metal para metal.
- (B) Verdadeira.
No espectro, a sequência de cores é violeta, azul, verde, amarelo, laranja, vermelho, da mais energética para a menos energética. A radiação azul é, pois, mais energética que a radiação vermelha. E se esta remove electrões, então a radiação azul também remove.
- (C) Verdadeira.
Quando o electrão é emitido por efeito fotoeléctrico, parte da energia da radiação é utilizada para remover o electrão (este valor é constante para o mesmo metal) e a parte restante surge como energia cinética do electrão. Portanto, quanto mais energética for a radiação incidente, havendo remoção do electrão, maior será a energia cinética que este adquire, uma vez removido.
- (D) Falsa.
A energia cinética dos electrões vai depender da energia da radiação incidente, sendo maior para o caso da radiação ultravioleta.
- (E) Verdadeira.
Quanto mais fortemente atraídos, maior energia é necessário para os remover e menor energia “resta” para surgir como energia cinética dos electrões.
- (F) Falsa.
A frequência da radiação está relacionada com a energia de cada fotão da radiação incidente. Aumentando a frequência da radiação, aumenta a energia de cada fotão. Para aumentar o número de electrões emitidos, é necessário aumentar a intensidade da radiação.
- (G) Verdadeira.
A emissão de electrões por efeito fotoeléctrico é um fenómeno de interacção electrão-fotão da radiação incidente. Assim, o número de electrões emitidos depende da existência de maior ou menor número de fotões, logo da intensidade da radiação.
- (H) Falsa.
Se a energia de remoção for A, como os fotões têm energia 3A, a quantidade A é utilizada para remover o electrão e “sobra” 2A: esta quantidade 2A surge como energia cinética do electrão.
N.B.: apesar de no programa de Física e Química não se indicar que o efeito fotoeléctrico deve ser interpretado em termos de interacção electrão do metal-fotão da radiação, só a utilização do conceito de fotão permite interpretar adequadamente as características do efeito fotoeléctrico.
- 10ºano – Física – subdomínio 3 (Energia, fenómenos térmicos e radiação)
1.6. Os painéis fotovoltaicos são utilizados para produzir energia eléctrica a partir da energia solar.
Suponha que a energia solar total incidente no solo durante um ano, na localidade onde vive, é 1,10 × 1010 J m–2.
Calcule a área de painéis fotovoltaicos necessária para um gasto diário médio de electricidade de 21,0 kW h, se instalar na sua casa painéis com um rendimento de 25%.
Apresente todas as etapas de resolução.
- Isolar = 1,10 x 1010 J m–2 ;
- Eele. = 21,0 kW h ;
- Δt = 1 ano ;
- Δt = 1 dia
- h = 25% ;
- A = ?
- Econs. = Eele. x 365 ⇔ Econs. = 21,0 x 365 ⇔ Econs. = 7665 kW h
- Econs. = 7665 x 103 x 3600 ⇔ Econs. = 2,76 x 1010 J
⇒ Como a intensidade da radiação solar, Isolar, é:
⇒ A área de painéis fotovoltaicos necessária é de 10 m2.
Uma metodologia de resolução deve apresentar, no mínimo, as seguintes etapas de resolução para ser considerada correcta:
⇒ Calcula a energia eléctrica necessária por ano (Enec = 2,76 × 1010 J)
⇒ Calcula a energia fornecida por ano e por m2 (Efor = 2,75 × 109 J)
⇒ Calcula a área de painéis necessária (A = 10,0 m2)
ou
⇒ Calcula a energia eléctrica necessária por ano (Enec = 2,76 × 1010 J)
⇒ Calcula a energia solar necessária por ano (Esolar = 1,1 × 1011 J)
⇒ Calcula a área de painéis necessária (A = 10,0 m2)
Se a resposta apresentar ausência de metodologia de resolução ou metodologia de resolução incorrecta, ainda que com um resultado final correcto, a cotação a atribuir será zero pontos.
Erros de tipo 1 – erros de cálculo numérico, transcrição incorrecta de dados, conversão incorrecta de unidades ou ausência de unidades / unidades incorrectas no resultado final.
Erros de tipo 2 – erros de cálculo analítico, erros na utilização de fórmulas e outros erros que não possam ser incluídos no tipo 1.
2. No Decreto-Lei n.º 236/98, de 1 de Agosto, definem-se critérios e normas da qualidade da água, com a finalidade de a proteger, preservar e melhorar, em função das suas principais utilizações.
2.1. A desinfecção da água das piscinas é um dos procedimentos essenciais para que a qualidade da água esteja de acordo com os padrões aceitáveis estabelecidos pela lei.
Existem vários sistemas de desinfecção da água. Um deles recorre ao cloro em estado gasoso.
Quando presente na água, o cloro gasoso reage de acordo com as seguintes equações químicas:
Cl2 (g) + 2 H2O (l) ⇋ H3O+ (aq) + Cl– (aq) + HClO (aq) (1)
HClO (aq) + H2O (l) ⇋ H3O+ (aq) + ClO– (aq) (2)
A experiência demonstra que, de entre as espécies químicas que contêm cloro, o HClO é o composto mais eficaz no processo de desinfecção. O valor do pH é um dos parâmetros a controlar para assegurar a eficácia do processo de desinfecção de uma água.
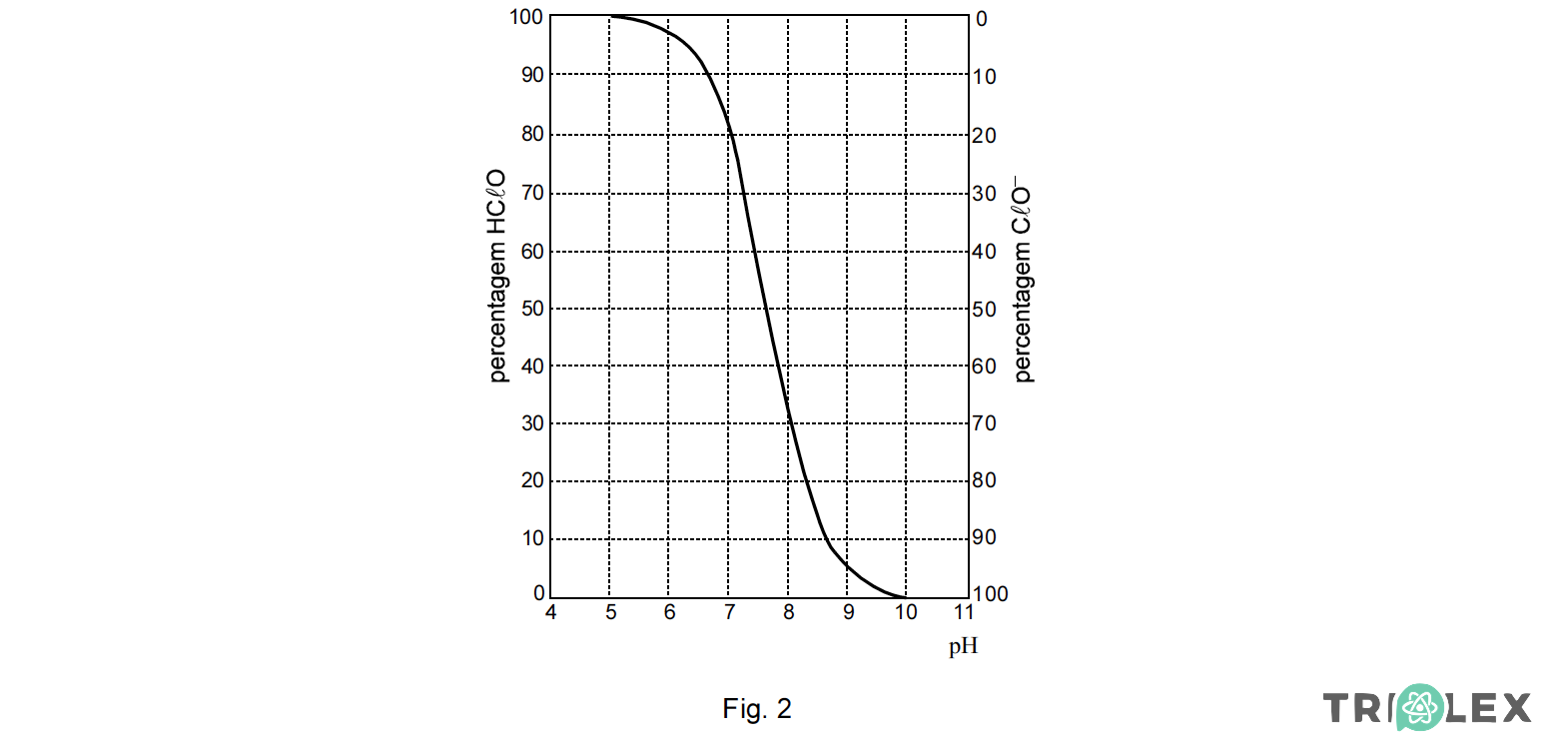
O gráfico da figura relaciona a percentagem relativa de HClO e de CO– com o pH da água de uma piscina, à temperatura de 20 ºC.
- 11ºano – Química – Domínio 2 – subdomínio 1 (Reações ácido-base)
2.1.1. Escreva um texto em que explique, com base na informação apresentada, o que se pode concluir sobre a eficácia do processo de desinfecção da água de uma piscina que apresenta um valor de pH igual a 9.
⇒ Como se pode concluir a partir da análise do gráfico, quando o pH da água é 9, a percentagem de HClO é muito baixa.
⇒ Com base na informação apresentada, a experiência demonstra que o HClO é o composto mais eficaz no processo de desinfeção.
⇒ Assim, pode concluir-se que, a pH = 9, não ocorrerá a desinfeção eficiente da água na piscina.
A composição deve contemplar os seguintes tópicos:
⇒ A partir da análise do gráfico, verifica-se que, quando o pH da água é 9, a percentagem de HClO é muito baixa.
⇒ Sendo o composto HClO o mais eficaz no processo de desinfecção, pode concluir-se que, nestas condições, não ocorreria a desinfecção da água da piscina.
A classificação deste item utiliza os níveis de desempenho registados nos critérios gerais, apresentados de acordo com os tópicos descritos.
Se o examinando referir apenas 1 tópico:
– atribuir a cotação de 6 pontos se este estiver correcto;
– atribuir a cotação de 5 pontos se for utilizada ocasionalmente uma terminologia científica não adequada e/ou com incorrecções.
- 11ºano – Química – Domínio 2 – subdomínio 2 (Reações de oxidação redução)
2.1.2. Um dos sistemas de desinfecção da água das piscinas baseia-se na electrólise de uma solução aquosa concentrada de cloreto de sódio (NaCl), para obtenção do Cl2 (g).
Neste processo a reacção global traduz-se pela equação química:
2 H2O (l) + 2 Cl– (aq) → H2 (g) + Cl2 (g) + 2 OH– (aq)
Com base na informação apresentada, seleccione a alternativa INCORRECTA.
(A) O número de oxidação do cloro na molécula Cl2 é 0 (zero).
(B) Nesta reacção, os iões Cl– oxidam-se e, simultaneamente, as moléculas de H2O reduzem-se.
(C) Para esta reacção, os pares conjugados de oxidação-redução são: H2O/ H2 e Cl2/Cl–.
(D) A reacção de oxidação pode traduzir-se pela equação: 2 Cl– (aq) + 2 e– → Cl2 (g).
- Opção (D)
- (A) Verdadeira.
Na molécula de Cl2, o cloro encontra-se no estado livre, pelo que apresenta um número de oxidação igual a 0 (zero) .
- (B) Verdadeira.
Nesta reação, os iões Cl– oxidam-se, pois há um aumento do número de oxidação do elemento cloro de – 1 , no ião Cl– , para 0 (zero), na molécula de Cl2. Ocorreu uma perda de eletrões. As moléculas de H2O reduzem-se, pois há uma diminuição do número de oxidação do elemento hidrogénio de + 1 , na água, para 0 (zero), no hidrogénio molecular (H2). Ocorreu, portanto, um ganho de eletrões.
- (C) Verdadeira.
Os pares de partículas H2O/H2 e Cl2/Cl– podem transformar-se uma na outra por ganho ou perda de eletrões. Denominam-se, portanto, pares conjugados de oxidação-redução.
- (D) Falsa.
A reação de oxidação pode ser traduzida pela equação: 2 Cl– (aq) → Cl2 (g) + 2 e–
Uma equação química tem de estar eletricamente acertada. Além disso, numa reação de oxidação ocorre uma libertação (e não uma captação) de eletrões.
- Opção (D)…………. 7 pontos
2.2. No tratamento de certas águas destinadas ao consumo humano, é necessário adicionar-lhes sulfato de alumínio. O excesso de alumínio é precipitado sob a forma de hidróxido (Al(OH)3).
O Valor Máximo Recomendável (valor paramétrico) do ião alumínio de uma água para consumo humano é 1,85 × 10–6 mol L–1.
- 10ºano – Química – Domínio 2 – subdomínio 2 (Gases e dispersões)
2.2.1. Seleccione a alternativa que permite calcular, em mg mL–1, o Valor Máximo Recomendável do ião alumínio de uma água para consumo humano.
Consulte a Tabela Periódica.
- Opção (A)…………. 7 pontos
- 11ºano – Química – Domínio 2 – subdomínio 3 (Soluções e equilíbrio de solubilidade)
2.2.2. Uma amostra de 1,0 L de uma água sujeita ao tratamento referido contém 3,16 × 10-6 mol de iões H3O+, à temperatura de 25 ºC.
Verifique, com base na informação apresentada, que esta água é adequada ao consumo humano.
Apresente todas as etapas de resolução.
Ks (Al(OH)3) = 1,80 × 10–33 (a 25 ºC)
⇒ Cálculo da concentração de HO– da água da amostra
A 25 ºC :
- Kw = [H3O+] x [HO–] = 1,00 x 10–14 ⇔ 1,00 x 10–14 = 3,16 x 10–6 x [HO–] ⇔ [HO–]= 3,16 x 10–9 mol L–1
⇒ Cálculo da concentração de Al3+ na amostra de água utilizada
O equilíbrio de solubilidade de Al(OH)3 é traduzido pela equação:
Al(OH)3 (s) ⇋ Al3+ (aq) + 3 OH– (aq)
A expressão do produto de solubilidade do hidróxido de alumínio é:
Ks = [Al3+] x [OH–]3
A 25 ºC , temos:
- 1,80 x 10–33 = [Al3+] x (3,16 x 10–3) ⇔ [Al3+] = 5,70 x 10–8 mol L–1
⇒ Comparação da [Al3+] da água referida com o VMR do ião alumínio
- VMR = 1,85 x 10–6 mol L–1
- [Al3+] = 5,70 x 10–8 mol L–1
5,70 x 10–8 < 1,85 x 10–6
[Al3+] < VMR
⇒ Conclusão: A água referida é adequada ao consumo humano.Uma metodologia de resolução deve apresentar, no mínimo, as seguintes etapas de resolução para ser considerada correcta:
• Utilizando a expressão do produto iónico da água e identificando [H3O+] = 3,16 × 10–6 mol L–1, calcula [OH–] ([OH–] = 3,16 × 10–9 mol L–1).
• Utilizando a expressão do produto de solubilidade do hidróxido de alumínio, calcula [Al3+] ([Al3+] = 5,68 × 10–8 mol L–1).
• Comparando [Al3+] da água referida com o VMR do ião alumínio, verifica que a água é adequada ao consumo humano.
Se a resposta apresentar ausência de metodologia de resolução ou metodologia de resolução incorrecta, ainda que com um resultado final correcto, a cotação a atribuir será zero pontos.
Erros de tipo 1 – erros de cálculo numérico, transcrição incorrecta de dados, conversão incorrecta de unidades ou ausência de unidades / unidades incorrectas no resultado final.
Erros de tipo 2 – erros de cálculo analítico, erros na utilização de fórmulas e outros erros que não possam ser incluídos no tipo 1.
3. Num laboratório de uma escola, três grupos de alunos (A, B e C) realizaram titulações ácido-base das soluções ácidas: HNO3 (aq) e HCl (aq).
Os grupos usaram o mesmo titulante, de concentração c, uma solução aquosa de NaOH, tendo registado os seguintes resultados:
- 11ºano – Química – Domínio 2 – subdomínio 1 (Reações ácido-base)
(A) Os grupos A e C podem ter titulado soluções de concentrações iguais.
(B) Os grupos A e B podem ter titulado soluções de concentrações diferentes.
(C) Os grupos B e C titularam volumes iguais de soluções ácidas.
(D) O grupo B titulou o dobro do volume de solução ácida titulado pelo grupo A.
Ka(HCl) muito elevado / Ka(HNO3) muito elevado- (A) Falsa.
Como os ácidos HNO3 e HCl são ácidos muito fortes (Ka muito elevado) podem considerar- se completamente ionizados:
HNO3 (aq) + H2O (l) → NO3– (aq) + H3O+ (aq)
HCl (aq) + H2O (l) → Cl– (aq) + H3O+ (aq)
Pela estequiometria das reações de ionização pode considerar-se que a concentração de H3O+ em solução é igual à concentração inicial dos respetivos ácidos.
Como pH = – log [H3O+] , as concentrações das soluções tituladas pelos grupos A e C terão de ter concentrações diferentes, pois apresentam valores de pH diferentes.
- (B) Falsa.
Como se viu em (A), as concentrações das soluções tituladas pelos grupos A e B terão de ser iguais, pois estas soluções apresentam iguais valores de pH .
- (C) Falsa.
O volume de titulante gasto até atingir o ponto de equivalência corresponde ao volume de titulante necessário para que a reação ácido-base se complete:
H+ (aq) + HO– (aq) → H2O (l)
Assim, no ponto de equivalência, a quantidade de HO– (proveniente da solução de NaHO) é igual à quantidade de H+ (proveniente das soluções ácidas).
- Assim, como n = c x V , temos: cácido x Vácido = cbase x Vbase
Como as concentrações das soluções tituladas pelos grupos B e C são diferentes (o pH do titulado no início da titulação é diferente) e o volume de titulante gasto no ponto de equivalência é o mesmo, os grupos B e C têm de ter titulado volumes diferentes de soluções ácidas.
- (D) Verdadeira.
Como se viu em (B) e em (C), se a concentração das soluções tituladas pelos grupos A e B são iguais e o volume de titulante gasto no ponto de equivalência pelo grupo B é o dobro do volume gasto pelo grupo A , conclui-se que o grupo B titulou o dobro do volume de solução ácida do titulado pelo grupo A .
- Opção (D)…………. 7 pontos
- 11ºano – Química – Domínio 2 – subdomínio 1 (Reações ácido-base)
- 11ºano – Química – A.l. – 2.1 – Titulação ácido-base
3.2. No laboratório dessa escola, existe uma lista de reagentes, material e equipamento disponíveis, a partir da qual outro grupo de alunos escolheu o que necessitou para realizar a titulação de uma solução aquosa de ácido clorídrico, HCl.
Lista de reagentes, material e equipamento:
De entre esta lista, o grupo começou por seleccionar a solução-padrão de NaOH 0,100 mol dm–3 e o agitador magnético.
Indique os outros sete elementos da lista que o grupo teve de escolher para realizar, com a maior exactidão possível, a titulação de 20,00 cm3 de solução aquosa ácida.
Se indicar mais do que sete elementos, a resposta terá a cotação de zero pontos.
Material a utilizar na titulação, além da solução-padrão (de NaOH), do agitador magnético e da solução a titular (de HCl):
- Bureta de 25,00 mL
- Suporte universal
- Conjunto garra e noz
- Pipeta volumétrica de 20,00 mL
- Pompete
- Gobelé
- Medidor de pH de bolso
⇒ Elementos correctos: bureta de 25,00 mL; pipeta volumétrica de 20,00 mL; pompete; gobelé; conjunto garra e noz; medidor de pH de bolso e suporte universal.
A classificação deste item utiliza os níveis de desempenho descritos na tabela seguinte.
Se o examinando seleccionar mais do que sete elementos, atribuir à resposta a cotação de zero pontos.
4. Quando, nos anos 60 do século XX, os satélites geostacionários se tornaram uma realidade, foi possível utilizá-los para as comunicações a longa distância e outros fins, que têm vindo a modificar a forma como vivemos, trabalhamos e passamos os tempos livres.
4.1*. Mencione duas outras utilizações claramente positivas do uso de satélites geostacionários.
*O conteúdo deste item já não faz parte dos atuais referenciais programáticos da disciplina.
Exemplos de utilizações positivas: previsão meteorológica; cartografia; vigilância de incêndios; estudos de ambiente.
Nota: o termo positivo tem algo de ambíguo, no entanto, entenda-se como benéfico para utilizações comuns e gerais.
⇒ Os satélites geostacionários estão muito longe da superfície da Terra e, por isso, alguns satélites mais próximos desempenham muito melhor algumas funções, como por exemplo a cartografia e a fotografia para fins meteorológicos.
- 11ºano – Física – Domínio 1 – subdomínio 2 (Interações e os seus efeitos)
4.2. Dois astronautas com massas diferentes encontram-se no interior de um satélite geostacionário, em repouso em relação às paredes do satélite.
Seleccione a alternativa CORRECTA.
(A) As forças gravíticas que actuam nos dois astronautas, resultantes da interacção com a Terra, são nulas.
(B) As forças gravíticas que actuam nos dois astronautas, resultantes da interacção com a Terra, são diferentes de zero e iguais em módulo.
(C) Ambos os astronautas possuem aceleração nula, em relação a um sistema de referência com origem no centro da Terra.
(D) Os valores absolutos das acelerações dos astronautas, em relação a um sistema de referência com origem no centro da Terra, são iguais.
⇒ (A) Errada.
Os astronautas continuam submetidos à força gravítica exercida pela Terra, que depende da distância e das massas da Terra e de cada astronauta.
⇒ (B) Errada.
Se as massas dos astronautas são diferentes, as forças gravíticas são também diferentes.
⇒ (C) Errada.
Os astronautas, tal como o satélite, têm aceleração centrípeta, não nula. Se não tivessem aceleração centrípeta, o satélite seguiria a direito com velocidade constante…
⇒ (D) Correcta.
A aceleração depende apenas da velocidade do satélite e do raio da órbita. (Na superfície da Terra, é igual para todos os corpos… se não existir outra força além da força gravítica…).
- Opção (D)…………. 7 pontos
- 11ºano – Física – Domínio 1 – subdomínio 3 (Forças e movimentos)
4.3. Seleccione a alternativa que permite escrever uma afirmação CORRECTA.
A altitude de um satélite geostacionário terrestre depende…
(A) … da massa do satélite.
(B) … do módulo da velocidade linear do satélite.
(C) … da massa da Terra.
(D) … da velocidade de lançamento do satélite.
- Opção (C)…………. 7 pontos
4.4. Um satélite geostacionário de massa m = 5,0 × 103 kg encontra-se num ponto situado na vertical do equador, movendo-se com velocidade de módulo, v, a uma distância, r, do centro da Terra.
O módulo da força centrípeta que actua no satélite é Fc = m v2/r.
Calcule, apresentando todas as etapas de resolução:
- 11ºano – Física – Domínio 1 – subdomínio 3 (Forças e movimentos)
4.4.1. o módulo da velocidade angular do satélite em relação ao centro da Terra.
Uma metodologia de resolução deve apresentar, no mínimo, as seguintes etapas de resolução, para ser considerada correcta.
⇒ Identifica o período do movimento do satélite com o de um dia terrestre.
⇒ Utiliza a expressão ω = 2π/T, para obter ω (ω = 7,27 × 10–5 rad s–1).
Se a resposta apresentar ausência de metodologia de resolução ou metodologia de resolução incorrecta, ainda que com um resultado final correcto, a cotação a atribuir será zero pontos.
Erros de tipo 1 – erros de cálculo numérico, transcrição incorrecta de dados, conversão incorrecta de unidades ou ausência de unidades / unidades incorrectas no resultado final.
Erros de tipo 2 – erros de cálculo analítico, erros na utilização de fórmulas e outros erros que não possam ser incluídos no tipo 1.
- 11ºano – Física – Domínio 1 – subdomínio 3 (Forças e movimentos)
Uma metodologia de resolução deve apresentar, no mínimo, as seguintes etapas de resolução, para ser considerada correcta:
⇒ Identifica o período do movimento do satélite com o de um dia terrestre.
⇒ Relaciona o módulo da velocidade linear do satélite com a distância r deste ao centro da Terra e o período T do movimento.
⇒ Calcula a distância r do satélite ao centro da Terra, igualando a expressão da aceleração gravítica de um corpo a essa distância do centro da Terra à expressão do módulo da aceleração radial do corpo, num movimento circular com raio r.
⇒ Utilizando F = GmM/ r2 ou F = 4π2r m / T2, obtém o módulo da força gravítica (F = 1,1 × 103 N).
Se a resposta apresentar ausência de metodologia de resolução ou metodologia de resolução incorrecta, ainda que com um resultado final correcto, a cotação a atribuir será zero pontos.
Erros de tipo 1 – erros de cálculo numérico, transcrição incorrecta de dados, conversão incorrecta de unidades ou ausência de unidades / unidades incorrectas no resultado final.
Erros de tipo 2 – erros de cálculo analítico, erros na utilização de fórmulas e outros erros que não possam ser incluídos no tipo 1.
4.5. Antes da existência de satélites geostacionários, a observação da Terra era efetuada muitas vezes através da utilização da fotografia e outros meios, a partir de balões, dirigíveis ou aviões a altitudes muito inferiores às dos actuais satélites artificiais.
Em alguns casos, as fotografias obtidas eram simplesmente lançadas em sacos para a Terra, onde eram recuperadas.
- 11ºano – Física – Domínio 2 – subdomínio 3 (Ondas eletromagnéticas)
4.5.1. Um balão de observação, B, encontra-se sobre o mar (figura). Um feixe luminoso que, com origem no objeto submerso S, é detectado pelo observador, no balão, faz um ângulo α = 20,0º com a normal quando atinge a superfície de separação da água com o ar.
O índice de refração do ar é nar = 1,0, e o índice de refração da água é nágua = 1,3.
Seleccione o valor CORRECTO do ângulo β da figura.
(A) 30,5º
(B) 26,4º
(C) 22,1º
(D) 20,0º
- Opção (B)…………. 7 pontos
- 10ºano – Física – subdomínio 1 (Energia e movimentos)
4.5.2. Suponha que um balão de observação está em repouso, a uma altitude de 50 m acima do mar.
Uma pessoa no interior da barquinha do balão lança um objecto, na horizontal, com velocidade inicial de módulo v0 = 20,0 m s-1.
Calcule o módulo da velocidade do objecto quando este atinge a superfície da água.
Despreze a resistência do ar.
Apresente todas as etapas de resolução.
Uma metodologia de resolução deve apresentar, no mínimo, as seguintes etapas de resolução, para ser considerada correcta.
⇒ Utiliza a expressão da conservação da energia mecânica durante o movimento do objecto para obter ½ m v2 – ½ m v02 = m g h e obtém v (v = 3,7 x 10 m s–1).
ou
⇒ Utiliza a expressão h = ½ g t2, para obter t (t = 3,16 s).
⇒ Utiliza a expressão vy = g t, para calcular a componente vertical da velocidade do objecto ao atingir a água.
⇒ Utiliza a expressão v = √(vx2 + vy2) e obtém v (v = 3,7 x 10 m s–1).
Se a resposta apresentar ausência de metodologia de resolução ou metodologia de resolução incorrecta, ainda que com um resultado final correcto, a cotação a atribuir será zero pontos.
Erros de tipo 1 – erros de cálculo numérico, transcrição incorrecta de dados, conversão incorrecta de unidades ou ausência de unidades / unidades incorrectas no resultado final.
Erros de tipo 2 – erros de cálculo analítico, erros na utilização de fórmulas e outros erros que não possam ser incluídos no tipo 1.
- 10ºano – Física – subdomínio 1 (Energia e movimentos)
4.5.3. Um objecto é lançado de um balão de observação para o mar.
Seleccione a afirmação CORRECTA.
(A) A energia cinética do objecto ao atingir o mar é a mesma, quer se despreze, ou não, a resistência do ar.
(B) A energia mecânica do sistema objecto + Terra, no instante em que o objecto atinge o mar, é maior quando se despreza a resistência do ar do que quando não se despreza essa resistência.
(C) A energia potencial do sistema objecto + Terra, no instante em que o objecto atinge o mar, é menor quando se despreza a resistência do ar do que quando não se despreza essa resistência.
(D) A energia mecânica do sistema objecto + Terra, no instante em que o objecto atinge o mar, é a mesma, quer se despreze, ou não, a resistência do ar.
⇒ Opção (B)
⇒ A energia potencial do sistema Terra + objeto é em qualquer instante a mesma quer se depreze ou não a resistência do ar, pois depende apenas da posição (Ep = m g h), pelo que a afirmação (C) é falsa.
⇒ Quando não se despreza a resistência do ar há variação de energia mecânica: ΔEm = WFa .
E como Fa atua em sentido contrário ao do movimento, então WFa < 0 , donde se conclui que ΔEm < 0 e como ΔE = Em – Emo , então Em < Emo .
Isto é, ao atingir a superfície da água do mar a energia mecânica do sistema Terra + objeto é menor do que a que apresenta quando a resistência é desprezável (Em = Emo), logo a afirmação (B) está correta e a (D) é falsa.
⇒ Quanto à energia cinética com que o objeto atinge a superfície da água do mar, é inferior à que apresenta quando se despreza a resistência do ar, pois como: ΔEm = ΔEc + ΔEp2 e sendo ΔEp = constante e como ΔEm < 0 , então ΔEc < ΔEp .
- Opção (B)…………. 7 pontos
FIM









